La empresa alemana permitirá mejorar la seguridad de los vehículos descapotables
Porsche inventa un sistema con el airbag dentro del marco del parabrisas
La seguridad de un vehículo es algo que se estudia mucho antes de que una marca lo lance al mercado. Pero además, existe un tipo de vehículo que debe ser probado y estudiado a conciencia por su idiosincrasia. Los roadster, descapotables o cabrios son los vehículos más vulnerables que hay (obviando a las motocicletas) pues al carecer de techo sus ocupantes están expuestos a ciertas lesiones que no deberían sufrir si fueran en un vehículo con techo metálico.
![[Img #13604]](upload/img/periodico/img_13604.png)
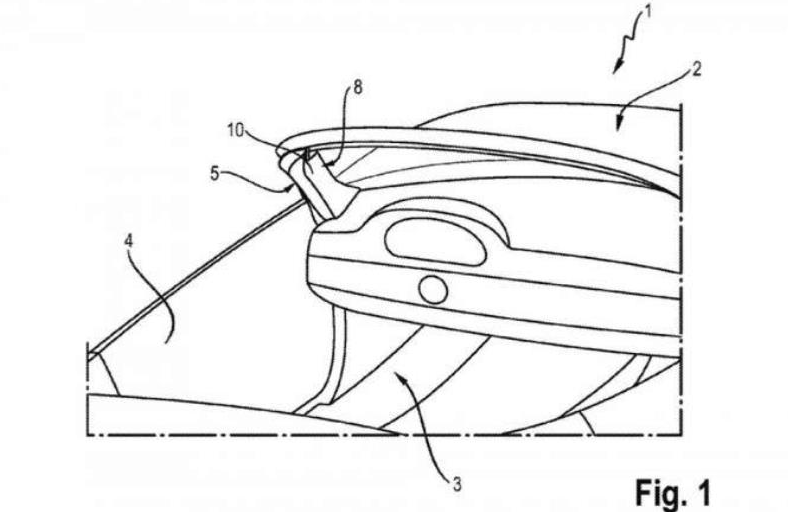
La pérdida de esta parte de su estructura hace que su chasis tenga que ser reforzado, a fin de evitar pérdidas en su rigidez torsional. Por ello, existen una serie de elementos de seguridad que se han perfilado con el tiempo. El ejemplo
más común y conocido son los arcos pirotécnicos antivuelco que se sitúan tras los reposacabezas de los asientos. Estas barras (por regla general) suelen ir escondidas entre los asientos y el maletero y sólo se despliegan si detectan que el vehículo va a sufrir un vuelco.
![[Img #13606]](upload/img/periodico/img_13606.png)
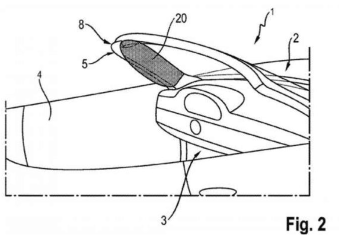
Este revolucionario sistema busca crear una zona de protección para los pasajeros del vehículo, pero evidentemente no puede suplir la falta de techo. Sin embargo las marcas siguen trabajando para mejorar la seguridad de estos modelos. Porsche ha presentado un sistema (ya patentado en la Oficina de Patentes y Marcas Registradas de los Estados Unidos) que permite alojar un airbag en el marco del parabrisas de estos vehículos.
Saldrá en breve al mercado
Si el vehículo volcara se desplegaría este airbag (ocupa todo el ancho del vehículo) y protegería la cabeza de los ocupantes delanteros, pues evitaría lesiones por golpes con esta parte. Además, este airbag también será muy beneficioso en el caso de producirse otro tipo de choques. Hay que recordar que los cabrios tienen el marco del parabrisas más inclinado que los vehículos normales y por tanto sufrir un golpe con esta parte es mucho más fácil que en un vehículo de techo cerrado.
Por lo pronto este sistema de seguridad sólo es una patente pero a buen seguro Porsche no tardará mucho en ponerlo en el mercado. Además, no nos extrañaría nada verlo en vehículos con techo, pues ayudaría a reforzar su seguridad. Por lo pronto las pruebas de este sistema comenzarán muy pronto y cuando la casa alemana lo tenga listo seguro que nos ofrecerán más detalles.
Fuente – Porsche
La seguridad de un vehículo es algo que se estudia mucho antes de que una marca lo lance al mercado. Pero además, existe un tipo de vehículo que debe ser probado y estudiado a conciencia por su idiosincrasia. Los roadster, descapotables o cabrios son los vehículos más vulnerables que hay (obviando a las motocicletas) pues al carecer de techo sus ocupantes están expuestos a ciertas lesiones que no deberían sufrir si fueran en un vehículo con techo metálico.
![[Img #13604]](upload/img/periodico/img_13604.png)
La pérdida de esta parte de su estructura hace que su chasis tenga que ser reforzado, a fin de evitar pérdidas en su rigidez torsional. Por ello, existen una serie de elementos de seguridad que se han perfilado con el tiempo. El ejemplo
más común y conocido son los arcos pirotécnicos antivuelco que se sitúan tras los reposacabezas de los asientos. Estas barras (por regla general) suelen ir escondidas entre los asientos y el maletero y sólo se despliegan si detectan que el vehículo va a sufrir un vuelco.
![[Img #13606]](upload/img/periodico/img_13606.png)
Este revolucionario sistema busca crear una zona de protección para los pasajeros del vehículo, pero evidentemente no puede suplir la falta de techo. Sin embargo las marcas siguen trabajando para mejorar la seguridad de estos modelos. Porsche ha presentado un sistema (ya patentado en la Oficina de Patentes y Marcas Registradas de los Estados Unidos) que permite alojar un airbag en el marco del parabrisas de estos vehículos.
Saldrá en breve al mercado
Si el vehículo volcara se desplegaría este airbag (ocupa todo el ancho del vehículo) y protegería la cabeza de los ocupantes delanteros, pues evitaría lesiones por golpes con esta parte. Además, este airbag también será muy beneficioso en el caso de producirse otro tipo de choques. Hay que recordar que los cabrios tienen el marco del parabrisas más inclinado que los vehículos normales y por tanto sufrir un golpe con esta parte es mucho más fácil que en un vehículo de techo cerrado.
Por lo pronto este sistema de seguridad sólo es una patente pero a buen seguro Porsche no tardará mucho en ponerlo en el mercado. Además, no nos extrañaría nada verlo en vehículos con techo, pues ayudaría a reforzar su seguridad. Por lo pronto las pruebas de este sistema comenzarán muy pronto y cuando la casa alemana lo tenga listo seguro que nos ofrecerán más detalles.
Fuente – Porsche













Normas de participación
Esta es la opinión de los lectores, no la de este medio.
Nos reservamos el derecho a eliminar los comentarios inapropiados.
La participación implica que ha leído y acepta las Normas de Participación y Política de Privacidad
Normas de Participación
Política de privacidad
Por seguridad guardamos tu IP
216.73.216.181